Passa ai contenuti principali
Cerca
Cerca nel blog
storia del GAUSSMETRO
Condividi
Ottieni link
Facebook
X
Pinterest
Email
Altre app
novembre 23, 2020
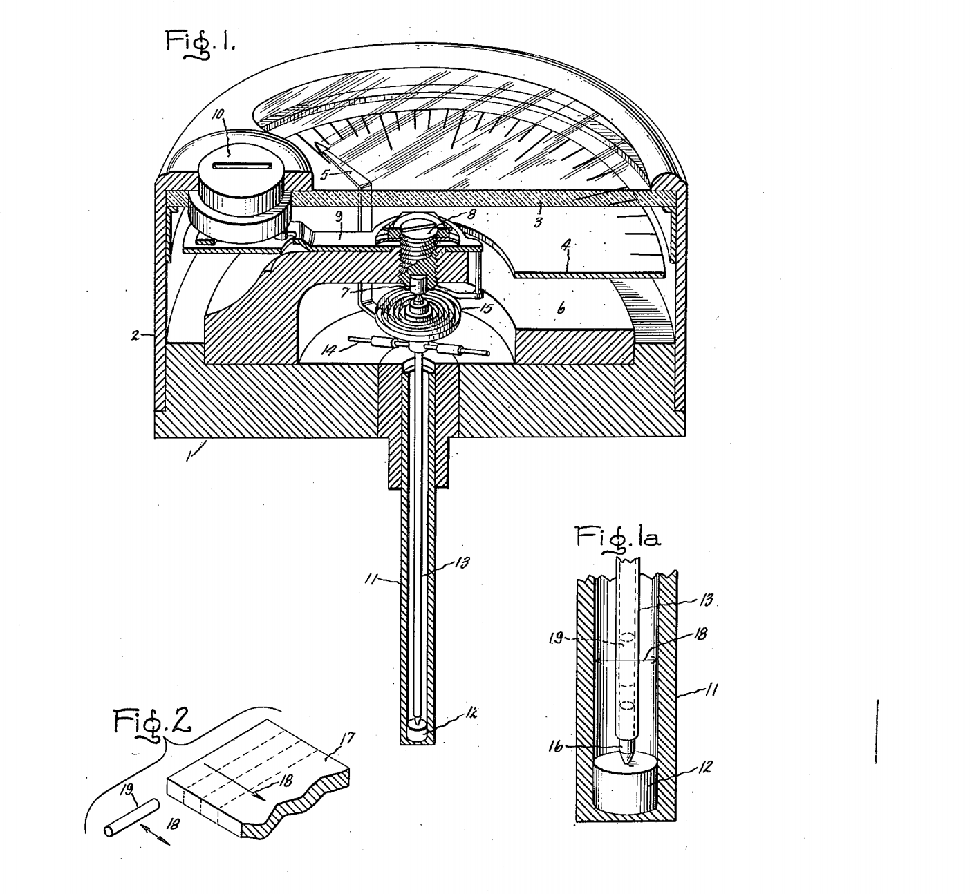
STEP #16 ANATOMIE
VINTAGE:
MODERNI:
Commenti
Post più popolari
gennaio 02, 2021
STEP #28 LA SINTESI FINALE
dicembre 31, 2020
STEP #26 LA CHIMICA E GLI STRUMENTI SCIENTIFICI
Commenti
Posta un commento